
实际上不是,至少不是根据一项新的微软专利。它表明公司正在加倍——还是应该加倍?– 在具有潜在 Surface Trio 的智能手机上。是的,顾名思义,微软正在开发一种具有三个显示器的设备。
Patently Apple 发现了一项微软向美国专利商标局 (USPTO)提交的专利,该专利突出了新型设计。您可能会认为Surface Duo 2 已经有三个带有外栏的显示器,但无可否认,这是一个非常有限的屏幕。
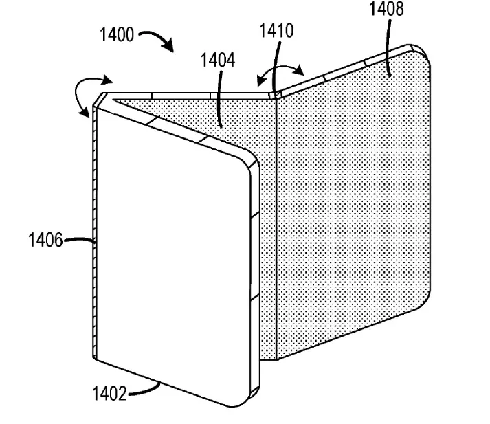
那么,Surface Trio 会是什么样子呢?好。该专利随附的一张图片显示,该设备看起来像 Surface Duo,但在设备关闭时将有一个显示屏在外面可见。

专利
目前,Duo 在反向打开或关闭时显示两个显示,但在正确关闭时不显示屏幕。虽然那个小的铰链条显示器有帮助,但 Duo 的最大缺点之一是需要打开它才能完成任何任务。添加外部显示器将使手机的可用性更上一层楼。
在专利中,微软使用新的铰链设计描述了该功能的工作方式:
“多面板显示设备可能在各种不同的场景中都有用。例如,多个软件应用程序窗口可以同时显示在不同的显示面板上。多面板显示设备可使用铰链以允许显示面板沿不同方向(例如,向内/向外)折叠。这种可折叠性允许多面板显示设备相对于类似便携的单显示设备具有更大的总显示面积,同时还允许相对于提供相同显示面积的非折叠显示设备具有更小的折叠尺寸。”
一如既往,我们坚定地处于发展领域。无法保证该专利将作为完整产品面世。
正文完